Каталог
Каталог Написать в WhatsApp
Мотоэкипировка

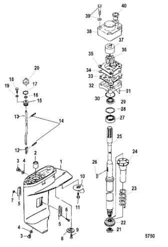
Корпус редуктора, карданный вал (Часть 1) 2-х тактного ПЛМ MERCURY 30 M Серийный номер от 0N001875 до 0N055504

Корпус редуктора, карданный вал (Часть 1) 2-х тактного ПЛМ MERCURY 30 M Серийный номер от 0N001875 до 0N055504 в Комсомольске-на-Амуре: актуальный каталог, цены, фото, описание. Купите корпус редуктора, карданный вал (часть 1) 2-х тактного плм mercury 30 m серийный номер от 0n001875 до 0n055504 в кредит – оформите заявку онлайн за 1 минуту!

Оригинальные запчасти

Артикул НАИМЕНОВАНИЕ Кол-во деталей в узле Примечание Наличие Цена Аналоги Фото
1 8M0070907 Редуктор в сборе (GC 25/30 2S SH)

Под заказ

1

Под заказ

уточнить

Купить
2 8M0070908 GC 25/30 2S LG

Под заказ

1

Под заказ

уточнить

Купить
3 8M0057242 Корпус редуктора (GEAR HSG. BASIC)

Под заказ

1

Под заказ

уточнить

Купить
4 813048006 Подшипник игольчатый (BEARING)

Под заказ

1

Под заказ

уточнить

Купить
5 953683 Заглушка (PLUG-OIL)

Под заказ

2

Под заказ

уточнить

Купить
6 8M0082880 Прокладка (GASKET @3)

Под заказ

2

Под заказ

уточнить

Купить
7 853763 Сетка водозаборника (WATER STARINER SET)

Под заказ

1

Под заказ

уточнить

Купить
8 17635 SCREW, STARTER LOCK

Под заказ

1

Под заказ

уточнить

Купить
9 85372210 Гайка (NUT)

Под заказ

1

Под заказ

уточнить

Купить
10 16133 Водяной фильтр (WATER STRAINER)

Под заказ

1

Под заказ

уточнить

Купить
11 160941 Болт (SCREW)

Под заказ

1

Под заказ

уточнить

Купить
12 853762 Тример цинковый (TRIM TAB)

Под заказ

1

Под заказ

уточнить

Купить
13 167051 Болт (BOLT)

Под заказ

1

Под заказ

уточнить

Купить
14 161722 *** Кулачок (SHIFT CAM)

Под заказ

1

Под заказ

уточнить

Купить
15 161732 Шток переключения передач (CAM ROD)

Под заказ

1

Под заказ

уточнить

Купить
16 161742 CAM ROD

Под заказ

1

Под заказ

уточнить

Купить
17 161743 CAM ROD

Под заказ

1

Под заказ

уточнить

Купить
18 161744 CAM ROD

Под заказ

1

Под заказ

уточнить

Купить
19 16179 Шпонка (PIN)

Под заказ

2

Под заказ

уточнить

Купить
20 161762 Втулка (BUSHING)

Под заказ

1

Под заказ

уточнить

Купить
21 161782 Упорное кольцо (O-RING)

Под заказ

1

Под заказ

уточнить

Купить
22 162111 Болт (BOLT)

Под заказ

1

Под заказ

уточнить

Купить
23 853794 RETAINER

Под заказ

1

Под заказ

уточнить

Купить
24 85372211 Гайка (NUT)

Под заказ

1

Под заказ

уточнить

Купить
25 16138T01 Шестерня (GEAR)

Под заказ

1

Под заказ

уточнить

Купить
26 8126454 Пружина (SPRING)

Под заказ

1

Под заказ

уточнить

Купить
27 853765T Пластиковая втулка приводного вала (GUIDE)

Под заказ

1

Под заказ

уточнить

Купить
28 161352 Торсионный вал (DRIVE SHAFT-SHORT)

Под заказ

1

Под заказ

уточнить

Купить
29 16136T02 Приводной вал L F25-30EFI (DRIVESHAFT)

Под заказ

1

Под заказ

уточнить

Купить
30 161363 Приводной вал (DRIVESHAFT)

Под заказ

1

Под заказ

уточнить

Купить
31 161364 DRIVESHAFT

Под заказ

1

Под заказ

уточнить

Купить
32 161551 Шпонка металлическая (KEY)

Под заказ

1

Под заказ

уточнить

Купить
33 16128T02 Подшипник (BEARING ASSEMBLY)

Под заказ

1

Под заказ

уточнить

Купить
34 813276001 Регулировочное кольцо (SHIM)

Под заказ

0

Под заказ

уточнить

Купить
35 813276015 Регулировочное кольцо (SHIM)

Под заказ

0

Под заказ

уточнить

Купить
36 813276003 Регулировочное кольцо (SHIM)

Под заказ

0

Под заказ

уточнить

Купить
37 813276005 Регулировочное кольцо (SHIM)

Под заказ

0

Под заказ

уточнить

Купить
38 161622 Сальник 161622

В наличии

1

В наличии

960

1 140

Купить
39 8537096 Упорное кольцо (O RING)

Под заказ

1

Под заказ

уточнить

Купить
40 952188 Шпонка (DOWEL PIN)

Под заказ

2

Под заказ

уточнить

Купить
41 8260531 Корпус помпы (W/P HOUSING)

Под заказ

1

Под заказ

уточнить

Купить
42 161602 Прокладка (GASKET)

Под заказ

1

Под заказ

уточнить

Купить
43 161592 Зеркало помпы (WEAR PLATE)

Под заказ

1

Под заказ

уточнить

Купить
44 161582 Прокладка (GASKET)

Под заказ

1

Под заказ

уточнить

Купить
45 161541 Крыльчатка (IMPELLER)

Под заказ

1

Под заказ

уточнить

Купить
46 161572 Шайба (INSERT)

Под заказ

1

Под заказ

уточнить

Купить
47 161562 Корпус помпы (W/P HOUSING)

Под заказ

1

Под заказ

уточнить

Купить
48 161681 Уплотнитель (SEAL)

Под заказ

1

Под заказ

уточнить

Купить
49 853792T01 Ремкомплект помпы (W/P REPAIR KIT )

Под заказ

1

Под заказ

уточнить

Купить
50 853792A2 Ремкомплект помпы (CHROME WATER PUMP REPAIR KIT)

Под заказ

1

Под заказ

уточнить

Купить
51 8M0089639 GASKET SET-L/U

Под заказ

1

Под заказ

уточнить

Купить

Нулевая цена не означает отсутствие товара. Оформите заказ, и менеджер сообщит вам цену и наличие товара, предварительно запросив их у поставщика

Главная Магазины
Корзина0
Профиль